| numérod'tration. | 11506520 |
|---|---|
| Bague De Requter(Cor) | - |
| 拉米尔·豆武里 - Objet | SANS. |
| Sortie de la位置de la pupille / du prisme dic | C |
| Champ de Vision(FN) | 25. |
| 距离De Travail Libre(WD en mm) | 0.28 |
| 浸没 | 秒 |
| 隔膜D'Iris. | SANS. |
| 概述 | 50⨉ |
| Méthodede令人反之财 | TL-BF,Fluo |
| ouverturenumérique | 0.9 |
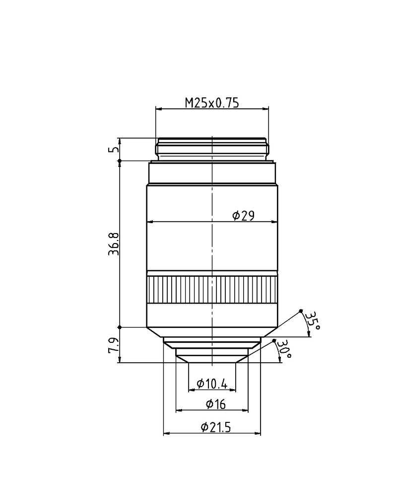
| Filetage de l'Objectif | M25 |
| 键入d'Objectif. | 计划apo. |
| RessortChargé. | oui. |
| AdaptéàFac(ContrôleAcketatifde la Mise Au Point) | - |
| 技术 | |
| 传播 | UV(340nm) |

